Προς τα αεροπλάνα του μέλλοντος στρέφεται η Airbus, η οποία μετά τα cockpits χωρίς παράθυρα οραματίζεται αεροπλάνα με αποσπώμενες καμπίνες.
Σκοπός της ιδέας δεν είναι άλλος από το να μετατρέψει την επιβίβαση και την αποβίβαση των ταξιδιωτών… σε ταχύτατη! Έτσι, όχι μόνο δεν θα σχηματίζονται ουρές από επιβάτες έξω από το αεροπλάνο, αλλά και το τελευταίο θα είναι έτοιμο να πετάξει στον επόμενο προορισμό του σε χρόνο ρεκόρ.
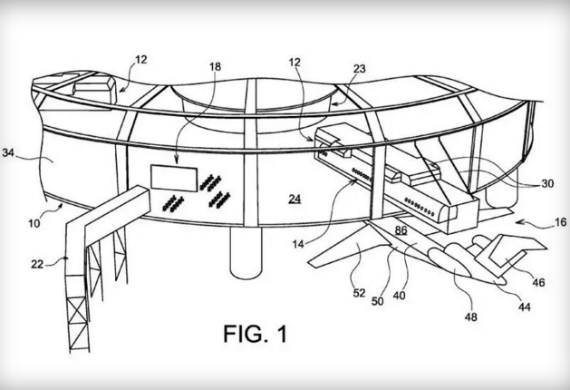
Η νέα ιδέα κατατέθηκε στο U.S. Patent and Trademark Office και εξηγεί ότι η αποσπώμενη καμπίνα θα αποτελείται από δάπεδο, το πάνω μέρος της ατράκτου και δυο τοίχους που θα “κουμπώνουν” ουσιαστικά στην καμπίνα.
Πιο συγκεκριμένα, η αποσπώμενη καμπίνα θα βρίσκεται στην πύλη του αεροσκάφους, το οποίο όταν φτάσει στο αεροδρόμιο, θα αλλάζει καμπίνες, θα γεμίζει με καύσιμα και θα είναι έτοιμο για απογείωση.
Ωστόσο, ακόμα και εάν η συγκεκριμένη πατέντα πετυχαίνει περισσότερες πτήσεις μέσα στο 24ωρο, δεν είναι δεδομένο ότι θα καταφέρει να “περάσει” από τους κανονισμούς ασφαλείας.
Αξίζει να αναφερθεί ότι για να γίνει πράξη αυτή η έξυπνη πατέντα, πρέπει να γίνουν αλλαγές στα terminal των αεροδρομίων, να υπολογιστεί το συνολικό κόστος και τέλος, οι εταιρείες να αγοράσουν νέα αεροπλάνα που να υποστηρίζουν τέτοιες τεχνολογίες.

























