Ενώ έως σήμερα τα εισιτήρια μίας αεροπορικής πτήσης πωλούνται με βάση τη ζήτηση, το πόσο έγκαιρα τα κλείνεις ή τη θέση όπου επιλέγεις (business, economy), ο νέος τρόπος τιμολόγησης βασίζεται στην απόσταση και το κόστος των καυσίμων για κάθε επιβάτη. Έτσι ένα μικρό παιδί, θα πληρώνει φθηνότερο εισιτήριο από ένα μεγαλύτερο, αφού το κόστος του εισιτηρίου θα βασίζεται και στο βάρος του επιβάτη.
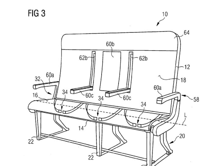
Ειδικότερα, η Ένωση Ευρεσιτεχνιών των ΗΠΑ δημοσίευσε πατέντα των Sven Taubert και Florian Schmidt της Airbus, για το νέο τρόπο αρίθμησης των θέσεων της εταιρείας, όπου λανσάρεται η οικογενειακή θέση. Ο νέος τρόπος αρίθμησης είναι άμεσα συνδεδεμένος με τα μπράτσα των θέσεων και τις ζώνες ασφαλείας, παρέχοντας την δυνατότητα να αυξήσει κανείς ή να μειώσει το πλάτος μία θέσης ώστε να χωρούν, δύο ή και περισσότεροι άνθρωποι αν πρόκειται για οικογένεια.
Για να εφαρμοστεί ο νέος τρόπος αρίθμησης θα χρειαστούν δραστικές αλλαγές στα συστήματα κρατήσεων των αερογραμμών.
Σημειώνεται πως τα standard του πλάτους των θέσεων των αεροσκαφών βασίζονται ακόμα σε μετρήσεις που έγιναν στο 1962, όταν και ο μέσος όρος του ύψους των Αμερικανών ήταν πολύ χαμηλότερος από τον σημερινό. Έτσι, όλο και περισσότεροι επιβάτες νιώθουν άβολα όταν ταξιδεύουν με το αεροπλάνο.


























